| 设计 任务书 文档 开题 答辩 说明书 格式 模板 外文 翻译 范文 资料 作品 文献 课程 实习 指导 调研 下载 网络教育 计算机 网站 网页 小程序 商城 购物 订餐 电影 安卓 Android Html Html5 SSM SSH Python 爬虫 大数据 管理系统 图书 校园网 考试 选题 网络安全 推荐系统 机械 模具 夹具 自动化 数控 车床 汽车 故障 诊断 电机 建模 机械手 去壳机 千斤顶 变速器 减速器 图纸 电气 变电站 电子 Stm32 单片机 物联网 监控 密码锁 Plc 组态 控制 智能 Matlab 土木 建筑 结构 框架 教学楼 住宅楼 造价 施工 办公楼 给水 排水 桥梁 刚构桥 水利 重力坝 水库 采矿 环境 化工 固废 工厂 视觉传达 室内设计 产品设计 电子商务 物流 盈利 案例 分析 评估 报告 营销 报销 会计 | |||||
|
|||||
|
|||||
|
|||||
摘 要
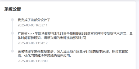
科研水平是高校的软实力的重要体现部分,随着高校科研项目的增多,传统的高校科研管理中存在的信息孤岛、流程繁琐、数据统计低效等弊端。为了提高科研管理的效率,本项目开发一个基于Spring Boot的高校科研管理系统,采用前后端分离架构,前端基于Vue 3结合Element-Plus、Vue-Router和Axios进行开发,后端以Spring Boot为核心框架,结合MyBatis作为持久层框架,Hutool作为工具类库,数据库采用MySQL作为数据存储管理系统。本系统实现了对新增科研项目的全过程管理,反馈以及数据可视化的功能。通过本系统,可以对高校科研项目进行管理,为科研项目经费申请提供便利,使科研数据统计更为直观。此外还能查看学校发布的相关公告。
关键词:高校科研管理;Spring Boot;Vue 3;MySQL
Abstract
With the continuous evolution and iteration of modern technology, information-based management has emerged accordingly. The level of scientific research is an important reflection of a university's soft power, and many universities have invested significant effort into research. As the number of university research projects increases and more faculty members participate, the drawbacks of traditional university research management, such as information silos, cumbersome processes, and inefficient data statistics, have become increasingly evident. To improve the efficiency of research management, it is crucial to provide a management system for university research. Therefore, this project develops a university research management system based on Spring Boot. The system adopts a front-end and back-end separation architecture. The front end is developed using Vue 3 in combination with Element-Plus, Vue-Router, and Axios, while the back end uses Spring Boot as the core framework, MyBatis as the persistence layer framework, and Hutool as the utility library. MySQL is employed as the database management system for data storage. Through this system, university research projects can be managed more effectively, the application process for research funding can be facilitated, and research data statistics can be made more intuitive. Additionally, users can view relevant announcements released by the university.
Keywords: University Research Management; Spring Boot; Vue 3; MySQL
目 录
1 前言
2 系统可行性分析
2.1 法律可行性
2.2 技术可行性
2.3 经济可行性
2.4 操作可行性
2.5 可行性分析结论
3 系统需求分析
3.1 用户需求分析
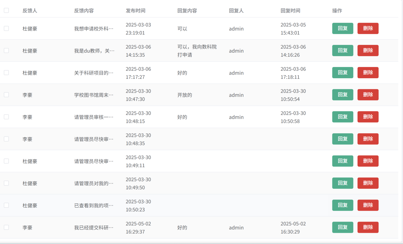
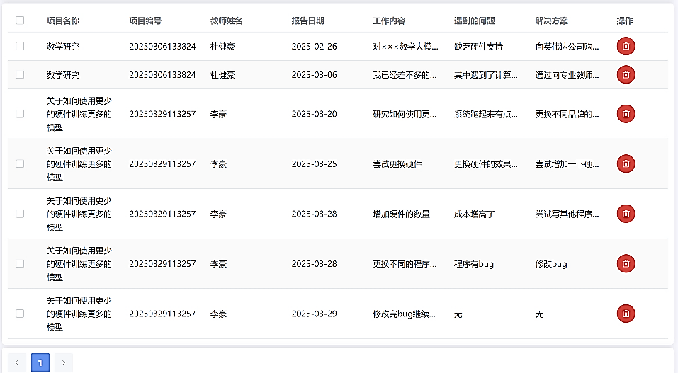
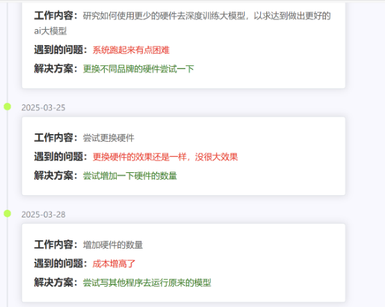
3.2.1 管理员端
3.2.2 教师端
3.3 系统性能需求分析
3.3.1 用户体验
3.3.2 系统安全
4 概要设计
4.1 系统结构设计
4.2 功能模块设计
4.2.1 管理员端设计
4.3 数据库设计
4.3.1 数据库实体设计
4.3.2 数据库表设计
5 详细设计
6 系统实现
6.1 技术说明
6.2 管理员端
6.3 教师端
7 结语
参考文献
致谢





























毕业66资料站 biye66.com ©2015-2026 版权所有 | 微信:15573586651 QQ:3903700237
本站毕业设计和毕业论文资料均属原创者所有,仅供学习交流之用,请勿转载并做其他非法用途.如有侵犯您的版权有损您的利益,请联系我们会立即改正或删除有关内容!