| 设计 任务书 文档 开题 答辩 说明书 格式 模板 外文 翻译 范文 资料 作品 文献 课程 实习 指导 调研 下载 网络教育 计算机 网站 网页 小程序 商城 购物 订餐 电影 安卓 Android Html Html5 SSM SSH Python 爬虫 大数据 管理系统 图书 校园网 考试 选题 网络安全 推荐系统 机械 模具 夹具 自动化 数控 车床 汽车 故障 诊断 电机 建模 机械手 去壳机 千斤顶 变速器 减速器 图纸 电气 变电站 电子 Stm32 单片机 物联网 监控 密码锁 Plc 组态 控制 智能 Matlab 土木 建筑 结构 框架 教学楼 住宅楼 造价 施工 办公楼 给水 排水 桥梁 刚构桥 水利 重力坝 水库 采矿 环境 化工 固废 工厂 视觉传达 室内设计 产品设计 电子商务 物流 盈利 案例 分析 评估 报告 营销 报销 会计 | |||||
|
|||||
|
|||||
|
|||||
摘 要
随着人民生活质量的提升,人们对蛋糕甜品的需求已超越了物质层面,更多地体现了精神追求。传统的购物方式需要顾客亲自到店挑选和购买,难以满足顾客的个性化需求,商家则面临市场竞争激烈及手工订单处理效率低的问题。为此,本论文开发了一个基于Spring Boot框架的蛋糕甜品销售系统,该系统前端使用Vue框架构建,后端依赖Spring Boot保证系统稳定性和扩展性。用户界面通过微信小程序实现,数据库采用MySQL进行数据存储,是非常安全高效的存储方式,可以存储大量的用户数据,管理后台包括会员管理、订单管理、评价管理和商品管理等功能,帮助商家优化业务流程。用户端用户可以实现浏览商品,收藏商品,领取优惠券,并下单商品等操作,实现足不出户可以在线购买蛋糕甜品,提供便捷、个性化的购物体验。
关键词:蛋糕甜品;Spring Boot;MySQL;微信小程序;Vue
Abstract
With the growth of the country's economy and the improvement of the quality of life, people's demand for cakes and desserts has gone beyond the material level and reflects more spiritual pursuits. However, traditional shopping requires customers to pick and purchase in person, which is time-consuming and difficult to meet personalized needs. Merchants face fierce competition in the market and inefficient manual order processing, which limits the quality and competitiveness of their services. To this end, this project has developed a cake dessert sales system based on the Spring Boot framework, which is built with the Vue framework at the front end and relies on Spring Boot at the back end to ensure the stability and scalability of the system. The user interface is realized through the WeChat applet, and the database uses MySQL for data storage, which is a very safe and efficient storage method, which can store a large amount of user data, and the management background includes functions such as member management, order management, evaluation management and commodity management to help merchants optimize business processes. User-side users can browse goods, collect goods, receive coupons, and place orders for goods, so that they can buy cakes and desserts online without leaving home, providing a convenient and personalized shopping experience.
Keywords: cake and dessert; Spring Boot; MySQL; WeChat Mini Program; Vue
目 录
1 前言
1.1 研究目的与意义
1.2 国内外研究状况
1.2.1 国外研究现状
1.2.2 国内研究现状
1.3 研究内容
2 可行性分析
2.1 技术可行性分析
2.2 经济可行性分析
2.3 法律可行性分析
3 系统需求分析
3.1 需求概述
3.2 功能需求分析
3.2.1 管理端需求分析
3.2.2 用户端需求分析
3.3 非功能需求分析
3.3.1 性能需求
3.3.2 硬件环境
3.3.3 软件环境
4 系统概要设计
4.1 系统架构设计
4.2 用户端系统功能分析
4.3 管理端系统功能分析
4.4 数据库设计
4.4.1 数据库概念模型关系
4.4.2 数据库表的结构设计
5 系统详细设计
5.1 管理端设计
5.1.1 管理员登录管理
5.1.2 商品管理
5.1.3 会员管理
5.1.4 优惠券管理
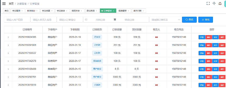
5.1.5 订单管理
5.2 用户端设计
5.2.1 游客注册登录交互设计
5.2.2 购物车功能详细设计
5.2.3 用户下单过程详细设计
6 系统实现
6.1 软件开发说明
6.2 管理端实现
6.2.1 登录功能实现
6.2.2 会员管理模块实现
6.2.3 运营管理模块实现
6.2.4 商品管理模块实现
6.2.5 推广管理模块实现
6.2.6 系统管理模块实现
6.2.7 统计报表实现
6.3 用户端实现
6.3.1 首页商品浏览实现
6.3.2 用户下单实现
6.3.3 购物车操作实现
6.3.4 地址管理实现
6.3.5 用户订单管理实现
6.3.6 用户浏览历史实现
6.3.7 用户收藏商品实现
7 总结
参考文献
致谢

































毕业66资料站 biye66.com ©2015-2026 版权所有 | 微信:15573586651 QQ:3903700237
本站毕业设计和毕业论文资料均属原创者所有,仅供学习交流之用,请勿转载并做其他非法用途.如有侵犯您的版权有损您的利益,请联系我们会立即改正或删除有关内容!