| 设计 任务书 文档 开题 答辩 说明书 格式 模板 外文 翻译 范文 资料 作品 文献 课程 实习 指导 调研 下载 网络教育 计算机 网站 网页 小程序 商城 购物 订餐 电影 安卓 Android Html Html5 SSM SSH Python 爬虫 大数据 管理系统 图书 校园网 考试 选题 网络安全 推荐系统 机械 模具 夹具 自动化 数控 车床 汽车 故障 诊断 电机 建模 机械手 去壳机 千斤顶 变速器 减速器 图纸 电气 变电站 电子 Stm32 单片机 物联网 监控 密码锁 Plc 组态 控制 智能 Matlab 土木 建筑 结构 框架 教学楼 住宅楼 造价 施工 办公楼 给水 排水 桥梁 刚构桥 水利 重力坝 水库 采矿 环境 化工 固废 工厂 视觉传达 室内设计 产品设计 电子商务 物流 盈利 案例 分析 评估 报告 营销 报销 会计 | |||||
|
|||||
|
|||||
|
|||||
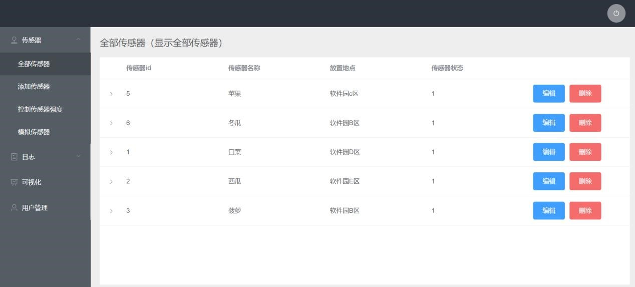
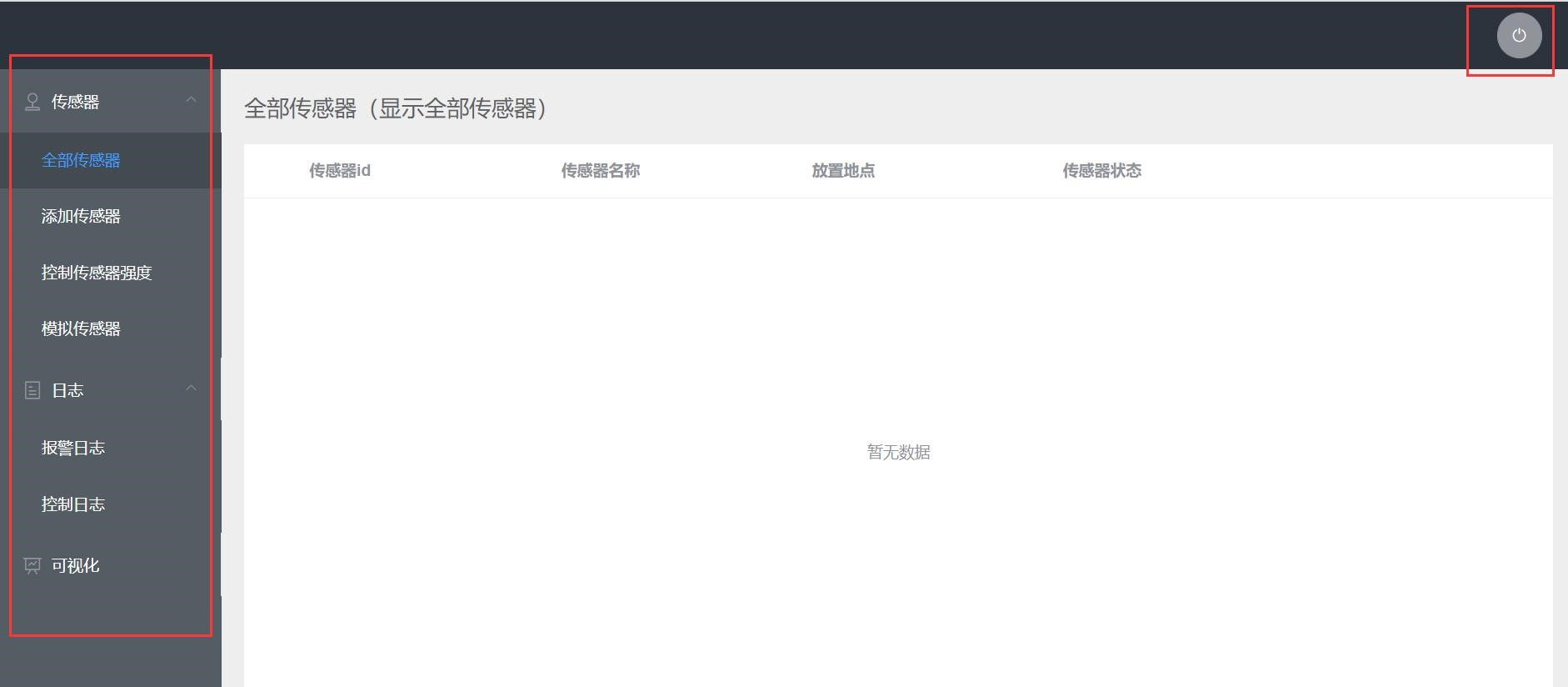
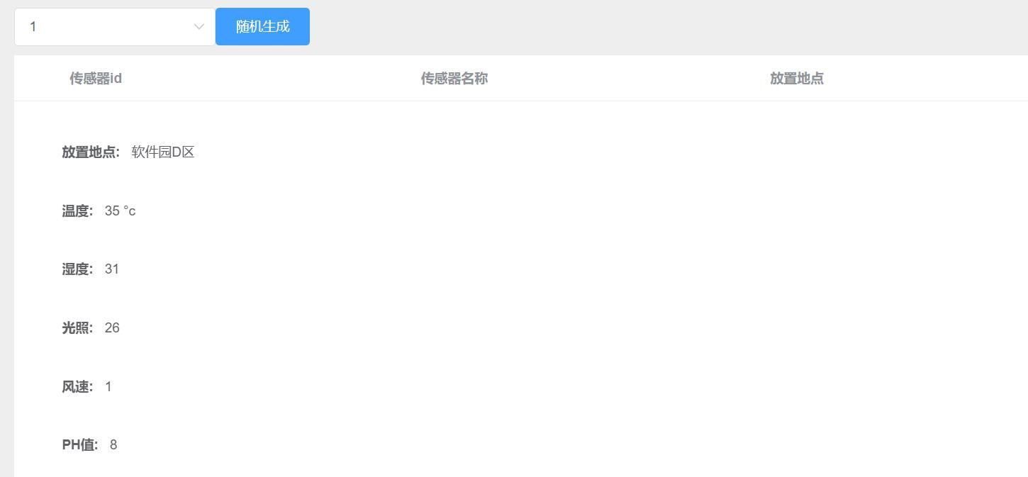
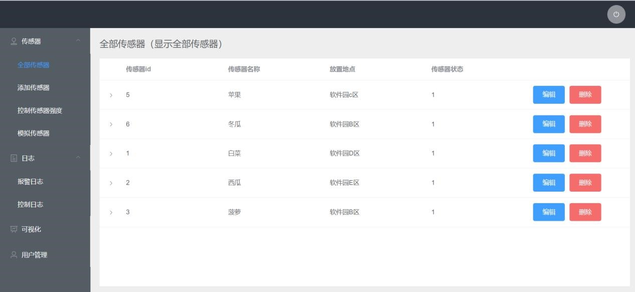
基于物联网的蔬菜大棚温湿度监控系统目录基于物联网的蔬菜大棚温湿度监控系统 1一、前言 1二、方案特色概述 2三、需求分析 3用户需求 3浏览器端需求 4管理者需求 4服务端需求 4传输需求 4四、方案设计 5五、模块设计 7前端设计: 8六、成品展示 9前端架构 9整体目录 9展开目录 10展示主页面 11七、接口设计 27登录接口 27注册接口 29“添加传感器”接口 30页面回显接口 31“编辑传感器”接口 33“删除传感器”接口 34“查找数据库所有传感器”接口 35“控制模拟传感器节点”接口(随机产生数据) 37“传感器产生的记录”接口 39报警日志接口 40控制接口 42“返回所有控制记录”接口 42“返回指定传感器控制记录”接口 43“返回所有用户数据”接口 44八、商业价值分析 45九、结语 47一、前言蔬菜大棚是一种具有出色的保温性能的框架覆膜结构,它出现使得人们可以吃到反季节蔬菜。常见的蔬菜大棚有两种:一种是以竹竿和木头为拱架材料;一种是以热镀锌薄壁钢管为拱架材料。在拱架上面覆上一层或多层保温塑料膜,这样就形成了一个温室空间。外膜很好地阻止内部蔬菜生长所产生的二氧化碳的流失,使棚内具有良好的保温效果。经过市场调研,以上这两种大棚存在下列问题:人工成本高、工作耗时长、生产效率低。生产数据采集滞后、难以及时发现险情高度依赖于人工操作,环境检测判断不精准。环境因素影响植物生长,收益低。本组针对这些问题设计了基于物联网的蔬菜大棚温湿度监控系统物联网蔬菜大棚控制系统可以远程监测大棚内环境数据――空气温湿度、二氧化碳浓度、土壤温湿度等――并上传到数据监测界面,通过平台智能分析,可以把数据可视化为图表,还可以远程控制通风、遮阳、浇灌等等设备,实现减少人工成本增加作物产量,提出了如下所述的解决方案。二、方案特色概述登陆验证:接入阿里云验证码服务,登录需要验证码权限控制:有不同访问模式,区分了访客模式,管理员模式操作日志:有操作日志,能显示所有操作的记录,可以操作数据备份或恢复监控报警系统:设置温度湿度等临界值,当达到临界值时系统预警可视化:讲实时数据可视化为图表,便于查看远程控制:可通过网页远程控制系统,并且可以控制传感器部分功能。

























毕业66资料站 biye66.com ©2015-2026 版权所有 | 微信:15573586651 QQ:3903700237
本站毕业设计和毕业论文资料均属原创者所有,仅供学习交流之用,请勿转载并做其他非法用途.如有侵犯您的版权有损您的利益,请联系我们会立即改正或删除有关内容!