| 设计 任务书 文档 开题 答辩 说明书 格式 模板 外文 翻译 范文 资料 作品 文献 课程 实习 指导 调研 下载 网络教育 计算机 网站 网页 小程序 商城 购物 订餐 电影 安卓 Android Html Html5 SSM SSH Python 爬虫 大数据 管理系统 图书 校园网 考试 选题 网络安全 推荐系统 机械 模具 夹具 自动化 数控 车床 汽车 故障 诊断 电机 建模 机械手 去壳机 千斤顶 变速器 减速器 图纸 电气 变电站 电子 Stm32 单片机 物联网 监控 密码锁 Plc 组态 控制 智能 Matlab 土木 建筑 结构 框架 教学楼 住宅楼 造价 施工 办公楼 给水 排水 桥梁 刚构桥 水利 重力坝 水库 采矿 环境 化工 固废 工厂 视觉传达 室内设计 产品设计 电子商务 物流 盈利 案例 分析 评估 报告 营销 报销 会计 | |||||
|
|||||
|
|||||
|
|||||
基于web的人力资源管理系统的设计与实现
---人员管理模块的设计与实现
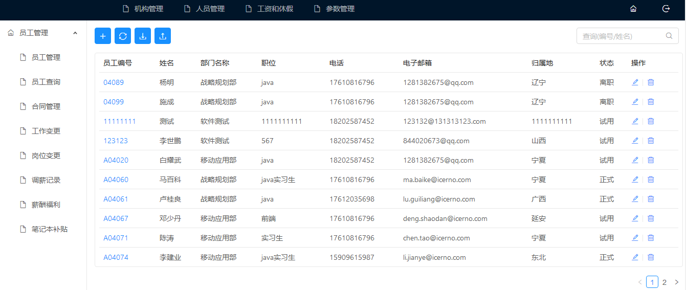
本次毕业设计我负责基于web的人力资源管理系统中人员管理模块的设计与实现。人员管理模块的具体功能包括:员工管理、员工查询、合同管理、岗位变更、工作变更、调薪记录、薪酬福利和设备补贴。
本次设计主要使用前后端分离技术进行实现,并综合运用了SpringBoot、React等主流框架技术、数据存储使用Mysql、mongoDB数据库。
本文采用软件工程的设计思想,描述了基于web的人力资源管理系统中人员管理的设计与实现。首先,第一章对LZ-HR系统的开发背景及现状进行了描述和分析。其次,就是对本系统主要的设计内容、选题特色、采用的技术平台以及系统的体系结构做了详细描述。第二章主要从用户群定位、功能需求和系统的非功能等方面对该系统进行了分析和阐述。第三章主要从功能设计、数据库设计和用户界面设计对LZ-HR系统进行分析和说明,其中功能概要设计包括系统功能模块的划分和系统的业务流程,数据库概要设计包括系统的E-R模型、领域模型和逻辑数据模型。第四章首先描述了LZ-HR系统的总体设计思路,其次使用UML建模工具画出各个核心模块的活动图、时序图等,其核心模块主要是员工管理模块中的合同添加功能、员工信息上传功能和薪资记录信息的多条件查询功能。
关键字:人力资源管理,SpringBoot,React,Web,分离技术
The Design and Implementation of
Human Resource Management System Based on Web
--- Personnel Management Module
In this graduation project, I was responsible for the design and implementation of the staff management module in the web-based human resource management system. The specific functions of the staff management module include: staff management, staff enquiries, contract management, job changes, job changes, salary adjustment records, compensation benefits and equipment subsidies.
This design mainly uses front-end and back-end separation technologies to implement, and comprehensively uses mainstream framework technologies such as SpringBoot and React, and data storage uses Mysql and MongoDB databases.
This paper adopts the design idea of software engineering to describe the design and implementation of personnel management in human resource management system based on web. First, the first chapter describes and analyzes the development background and current situation of LZ-HR system. Secondly, it is a detailed description of the main design content, topic selection features, technology platform and system architecture of the system. The second chapter mainly analyzes and explains the system from the aspects of user group positioning, function requirements and non-functional system. The third chapter mainly analyzes and explains the LZ-HR system from function design, database design and user interface design. The function outline design includes the division of system function modules and the business process of the system. The database outline design includes the system's ER model and field. Models and logical data models. The fourth chapter first describes the overall design idea of the LZ-HR system, and then uses the UML modeling tool to draw the activity diagrams and sequence diagrams of each core module. The core modules are mainly the contract addition function and employee information in the employee management module. Upload function and multi-condition query function of salary record information.
Keywords: Human Resource Management,SpringBoot,React, Web,Separation technology
目录
摘要
Abstract
第一章 概述
1.1 课题开发背景
1.2 国内外研究现状
1.3 技术平台
1.4 术语和缩略语
第二章 需求分析
2.1 用户群定位
2.2 功能需求
2.3 系统的非功能需求
2.3.1 系统的并发性需求
2.3.2 系统的安全性需求
2.3.3 系统的操作性需求
2.3.4 系统的扩展性需求
2.3.5 系统的战略性需求
第三章 概要设计
3.1功能概要设计
3.1.1 系统功能模块
3.1.2 系统业务流程
3.2 数据库概要设计
3.2.1 系统E-R模型
3.2.2 系统的领域模型
3.2.3 逻辑数据模型
3.3 用户页面概要设计
第四章 详细设计与实现
4.1 系统总体设计思路
4.2 合同添加功能的实现
4.3 员工信息上传功能的实现
4.4 薪资记录多条件查询的实现
第五章 遇到的问题及解决办法
致谢
参考文献


































毕业66资料站 biye66.com ©2015-2026 版权所有 | 微信:15573586651 QQ:3903700237
本站毕业设计和毕业论文资料均属原创者所有,仅供学习交流之用,请勿转载并做其他非法用途.如有侵犯您的版权有损您的利益,请联系我们会立即改正或删除有关内容!