| 设计 任务书 文档 开题 答辩 说明书 格式 模板 外文 翻译 范文 资料 作品 文献 课程 实习 指导 调研 下载 网络教育 计算机 网站 网页 小程序 商城 购物 订餐 电影 安卓 Android Html Html5 SSM SSH Python 爬虫 大数据 管理系统 图书 校园网 考试 选题 网络安全 推荐系统 机械 模具 夹具 自动化 数控 车床 汽车 故障 诊断 电机 建模 机械手 去壳机 千斤顶 变速器 减速器 图纸 电气 变电站 电子 Stm32 单片机 物联网 监控 密码锁 Plc 组态 控制 智能 Matlab 土木 建筑 结构 框架 教学楼 住宅楼 造价 施工 办公楼 给水 排水 桥梁 刚构桥 水利 重力坝 水库 采矿 环境 化工 固废 工厂 视觉传达 室内设计 产品设计 电子商务 物流 盈利 案例 分析 评估 报告 营销 报销 会计 | |||||
|
|||||
|
|||||
|
|||||
内容摘要: 人事管理在政府机关和企事业单位中占有极其重要的地位,各部门岗位之间协作和工效的提高,是人事管理的基本要求.本设计旨在实现微型人事管理信息系统,功能主要由人事在线通信、员工资料、人事信息管理、薪资调整分配、统计分析管理和系统设置管理系统构成.系统实现了员工信息编辑、人事信息入库展示分析、工资套帐处理及系统的设置、点对点在线讯息等功能.本设计在技术方面采用了较前沿的技术,应用端基于java EE体系中开源应用框架Spring Boot(集成IOC, MVC, ORM),Spring Security (安全框架),内嵌Tomcat服务器;前端基于javaScript的渐进式框架Vue.js;页面设计基于Element UI库;路由处理基于 vue-router.数据库端使用MySQL数据库;系统架构基于当前主流的MVVM(Model-View-View Model)模式,前后端分离的SPA(single page web application),即单页富应用程序.
关键词:人事管理; MVVM; Spring Boot; Vue.js; RBAC;
Abstract: Personnel management in government departments, enterprises and institutions and occupies an extremely important position, post collaboration between various departments and the improvement of work efficiency, is the basic requirement of personnel management. This design is to realize the micro personnel management information system, the function is mainly composed of personnel online communication, employee information, personnel information management, salary adjustment distribution, statistical analysis of management and system setting management system. The system implements the employee information editing, personnel information library show analysis, wages account processing and system Settings, peer-to-peer online message, etc. This design in technology adopted advanced technology, the applications based on Java EE system, open source application framework Spring Boot(integrated IOC,MVC, ORM),Spring Security (security framework),built-in Tomcat server; Front-end javaScript based progressive framework vue.js; The page design is based on the Element UI library; Routing is based on vue-router. MySQL database is used in the database terminal. The system architecture is based on the current mainstream MVVM(model- view-view Model) mode, and the single page web application (SPA) is separated from the front and back ends, that is, the single-page rich application.
Key words: personnel management; MVVM; Spring Boot; Vue.js; RBAC
目 录
1引言………………………………………………………………………………
1.1研发背景……………………………………………………………………………
1.2研发的目的及意义………………………………………………………………
1.3国内外研发现状……………………………………………………………………
2项目概述………………………………………………………………………………
3系统分析………………………………………………………………………………
3.1系统可行性分析……………………………………………………………………
3.2系统流程分析………………………………………………………………………
4系统设计………………………………………………………………………………
4.1系统功能模块设计………………………………………………………………
4.2物理数据模型设计………………………………………………………………
5系统实现………………………………………………………………………………
5.1 公共模块…………………………………………………………………………
5.2 员工资料…………………………………………………………………………
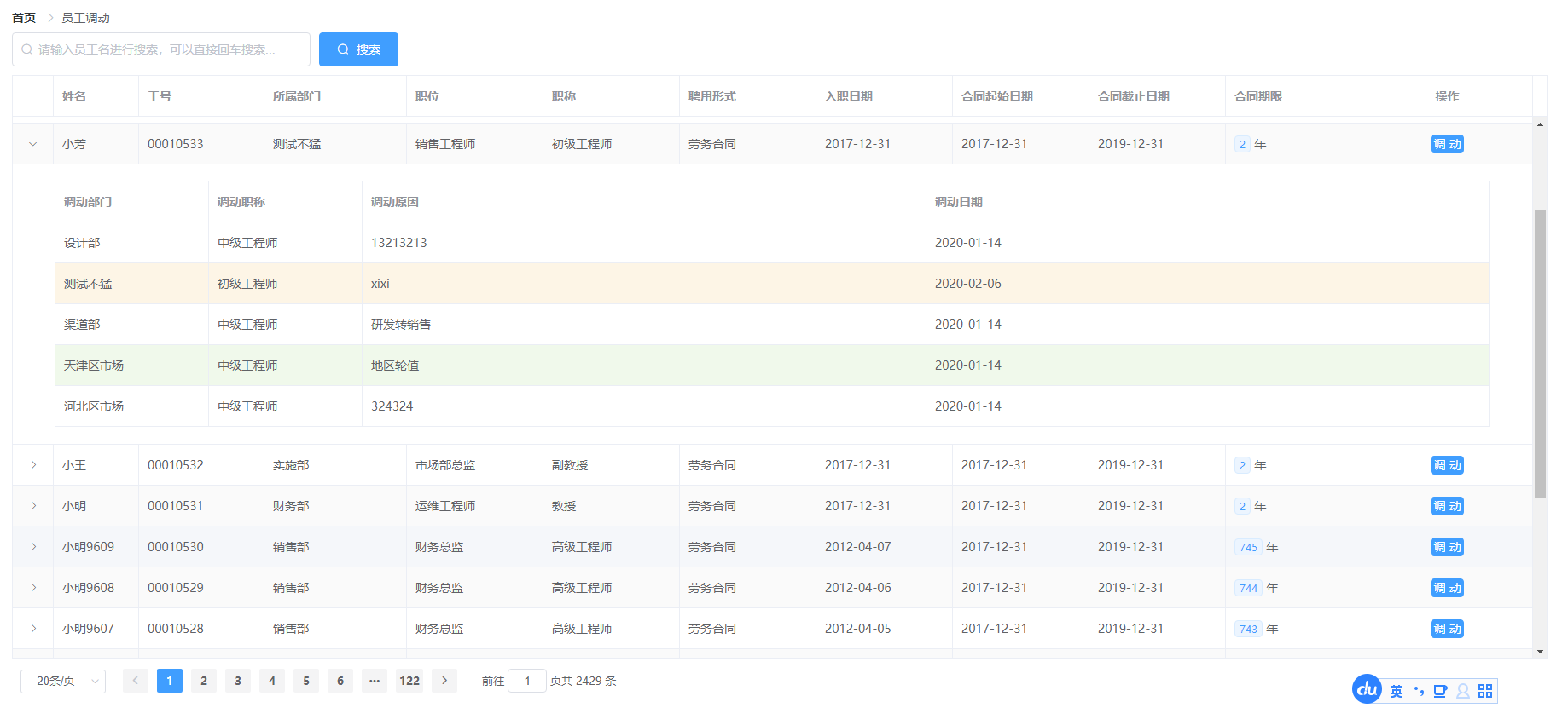
5.3.人事管理…………………………………………………………………………
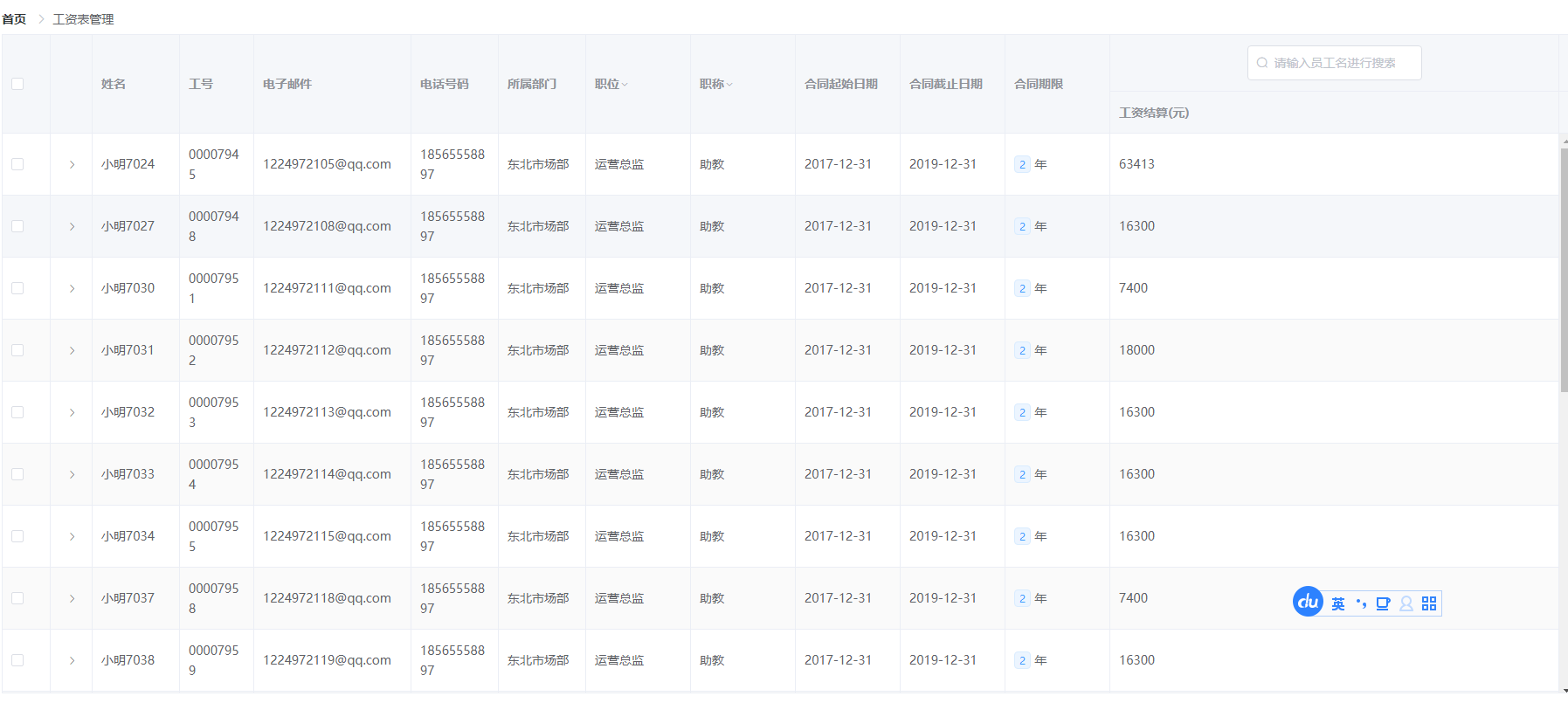
5.4工资管理…………………………………………………………………………
5.5统计管理…………………………………………………………………………
5.6系统管理…………………………………………………………………………
6系统测试…………………………………………………………………………
6.1 软件测试的目的…………………………………………………………………
6.2 功能测试…………………………………………………………………………
6.3 测试结论…………………………………………………………………………
结束语…………………………………………………………………………
参考文献…………………………………………………………………………
致 谢…………………………………………………………………………






































毕业66资料站 biye66.com ©2015-2026 版权所有 | 微信:15573586651 QQ:3903700237
本站毕业设计和毕业论文资料均属原创者所有,仅供学习交流之用,请勿转载并做其他非法用途.如有侵犯您的版权有损您的利益,请联系我们会立即改正或删除有关内容!