| 设计 任务书 文档 开题 答辩 说明书 格式 模板 外文 翻译 范文 资料 作品 文献 课程 实习 指导 调研 下载 网络教育 计算机 网站 网页 小程序 商城 购物 订餐 电影 安卓 Android Html Html5 SSM SSH Python 爬虫 大数据 管理系统 图书 校园网 考试 选题 网络安全 推荐系统 机械 模具 夹具 自动化 数控 车床 汽车 故障 诊断 电机 建模 机械手 去壳机 千斤顶 变速器 减速器 图纸 电气 变电站 电子 Stm32 单片机 物联网 监控 密码锁 Plc 组态 控制 智能 Matlab 土木 建筑 结构 框架 教学楼 住宅楼 造价 施工 办公楼 给水 排水 桥梁 刚构桥 水利 重力坝 水库 采矿 环境 化工 固废 工厂 视觉传达 室内设计 产品设计 电子商务 物流 盈利 案例 分析 评估 报告 营销 报销 会计 | |||||
|
|||||
|
|||||
|
|||||
摘 要
随着社会人均收入水平的逐步提高,大众娱乐方式也越来越多样化,旅游消费也出现在人们的视野里。但是互联网的普及,并没有给旅游公司带来很大便利,第一,大量外泄的客户信息说明旅游公司对客户个人信息的保护不够。第二,旅游公司没有充分利用互联网的推广,从而导致大量客源流失。本设计通过详细的系统分析和设计与实现一个智慧旅游在线平台,知道了传统购票问题的所在及其原因,在此基础上,提出更加智慧化后台系统的解决措施,使得管理员和普通用户更好地使用旅游管理系统,从而进一步完善旅游管理系统方案。
全部系统主要用于实现旅游景点信息管理,由前台和后台组成。前台为用户界面,后台为管理员界面,管理员登陆后,可以实施各种操作,实现对网站基本信息的管理。
用户功能包括对用户对热门景点的浏览、收藏、和评论,购买景区门票和景区特产,对酒店进行浏览、收藏和预定,包括通过搜索自己想去的景点查询旅游路线,旅游攻略和景点故事。用户还可以通过自己的后台查询自己门票订单,商品订单,酒店预订,线路订单和修改编辑自己的个人信息。
管理员功能包括管理用户信息,对用户信息进行查看,修改,删除,添加等操作,管理景点信息,对景点信息进行查看,修改,删除,添加等操作,还包括管理门票订单,管理商品订单,管理酒店信息,对预订酒店的用户进行查看,管理旅游线路,管理旅游攻略和查看用户投诉建议等基本功能。
该设计完整地覆盖了用户对个人信息的管理和对旅游景点进行浏览、预定、购买和投诉等功能以及管理员管理旅游景点信息、酒店信息、旅游路线等基础功能,本设计经过严格的开发实现,希望于带给用户带来轻松愉快的使用体验。
关键词:B/S模式;MySQL数据库;Java
ABSTRACT
With the gradual improvement of social per capita income level, public entertainment methods are becoming more and more diversified, and tourism consumption also appears in people's vision. However, the popularity of the Internet has not brought great convenience to travel companies. First, a large number of leaked customer information shows that travel companies do not protect customers' personal information enough. Second, travel companies do not make full use of the Internet promotion, resulting in the loss of a large number of customers. This design through detailed system analysis and design and implementation of a wisdom travel online platform, know the traditional ticket problem and its reason, on this basis, put forward the smarter background system solutions, make the administrator and ordinary users better use tourism management system, so as to further improve the tourism management system scheme.
All the systems are mainly used to realize the information management of tourist attractions, which is composed of the front desk and the background. The front desk is the user interface, and the background is the administrator interface. After the administrator logs in, he can implement various operations to realize the management of the basic information of the website.
The main function of the travel page is to add and delete modify the display of tourist attractions information and stories, add and delete modify the hotel information for booking, add and delete modify the display of tourist attractions information, as well as request itinerary, travel routes and user comments, management administrator login.
The design completely covers the user of personal information management and tourist attractions to browse, booking, purchase and complaints, as well as administrator management tourist attractions information, hotel information, tourist route, this design through strict development, hope to bring users relaxed and happy use experience.
Key words: B/S mode;MySQL databa;Java
目 录
摘 要
ABSTRACT
1 绪论
1.1 研究目的及意义
1.2 国内外研究现状
1.2.1 国内研究现状
1.2.2 国外研究现状
1.3 研究的主要内容
2 关键技术
2.1 Java语言
2.2 MySQL数据库
2.3 SSM框架
2.4 B/S体系结构
3 系统分析
3.1 系统分析原则
3.2 可行性分析
3.2.1 技术可行性
3.2.2 操作可行性
3.2.3 经济可行性
3.3 需求分析
3.2.1 系统用例图
3.2.2 非功能性分析
4 系统设计
4.1 系统设计目标
4.2 系统架构设计
4.3 系统功能详细设计
4.3.1系统功能结构
4.3.2 登录设计
4.3.3 修改密码设计
4.3.4 用户管理设计
4.4 数据库设计
4.4.1 数据库设计原则
4.4.2 数据库概念设计
4.4.3 数据库结构设计
5 系统实现
5.1 管理员模块
5.1.1 登录界面
5.1.2 用户管理
5.1.3 酒店信息管理
5.1.4 门票订单管理
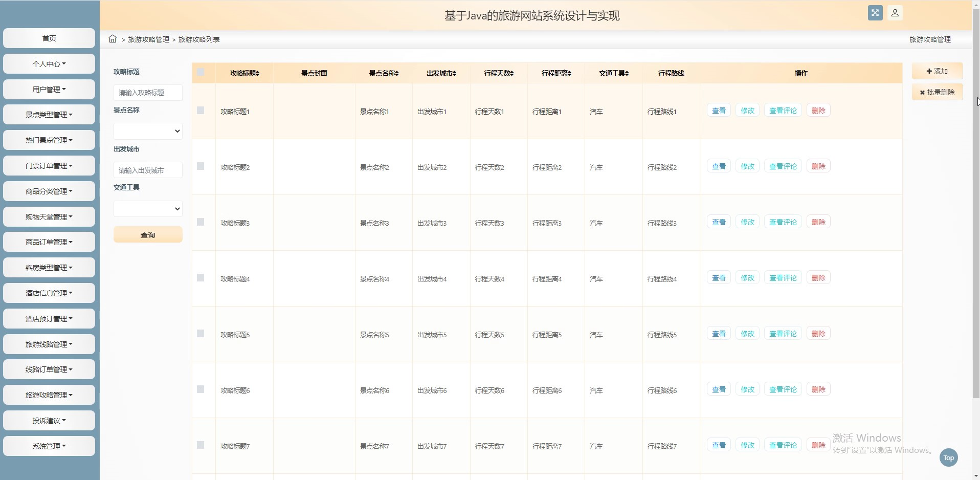
5.1.5 旅游攻略管理
5.2 用户模块
5.2.1 个人信息
5.2.2 热门景点
6 系统测试
6.1 测试方法
6.2 测试用例
6.3 集成测试
6.4 测试结果
总结与展望
参考文献
致 谢

















毕业66资料站 biye66.com ©2015-2026 版权所有 | 微信:15573586651 QQ:3903700237
本站毕业设计和毕业论文资料均属原创者所有,仅供学习交流之用,请勿转载并做其他非法用途.如有侵犯您的版权有损您的利益,请联系我们会立即改正或删除有关内容!