| 设计 任务书 文档 开题 答辩 说明书 格式 模板 外文 翻译 范文 资料 作品 文献 课程 实习 指导 调研 下载 网络教育 计算机 网站 网页 小程序 商城 购物 订餐 电影 安卓 Android Html Html5 SSM SSH Python 爬虫 大数据 管理系统 图书 校园网 考试 选题 网络安全 推荐系统 机械 模具 夹具 自动化 数控 车床 汽车 故障 诊断 电机 建模 机械手 去壳机 千斤顶 变速器 减速器 图纸 电气 变电站 电子 Stm32 单片机 物联网 监控 密码锁 Plc 组态 控制 智能 Matlab 土木 建筑 结构 框架 教学楼 住宅楼 造价 施工 办公楼 给水 排水 桥梁 刚构桥 水利 重力坝 水库 采矿 环境 化工 固废 工厂 视觉传达 室内设计 产品设计 电子商务 物流 盈利 案例 分析 评估 报告 营销 报销 会计 | |||||
|
|||||
|
|||||
|
|||||
摘 要
在现如今的信息化时代中,社会经济文化的发展快速增长,中国国民经济在不断增长。消费者能购买到的农产品越来越多,品种越来越丰富。在农产品出产的过程中一旦出现食品安全问题,不仅会造成巨大的经济损失,也会危害民众的身体健康,引发一系列的社会问题。建立起有效的、安全的农产品溯源平台能够让消费者清楚的看见农产品从生长到收获再到加工的全过程,能有效解决消费者与生产者之间的信息不对等的问题。而在区块链技术下的农产品溯源系统能有效防止信息被篡改,保障信息的真实性、可靠性。
本农产品溯源平台以区块链技术Hyperledger Fabric为核心并部署智能合约,采用基于Spring Boot的若依框架开发。实现了管理员对用户的管理、农户对农作物详情及生长过程的管理、物流公司对运输的管理、原料厂商对农作物的质量检测、生产厂商对农产品的加工管理、消费者对农作物进行溯源等功能。
关键词:农产品溯源 区块链 Hyperledger Fabric 智能合约 Spring Boot
Abstract
In today's information age, social economy and culture are developing rapidly. China's national economy is also growing. Consumers can buy more and more agricultural products, varieties are becoming richer and richer. People's eyes are no longer limited to what they can eat, but also want to know whether the food is safe. Once food safety problems occur in the production of agricultural products, they will not only cause huge economic losses, but also harm people's health and cause a series of social problems. Establishing effective and safety of agricultural products traceability platform can let consumers clearly see whole process from growth to harvesting and processing of agricultural products, can effectively solve the problem of trust between consumers and producers, and under the block chain technology of agricultural products traceability system can effectively prevent information been tampered with, guarantee the authenticity of information.
The agricultural product traceability platform is based on Hyperledger Fabric blockchain technology and smart contract deployment. It adopts Spring Boot framework to develop and MySQL database to realize data persistence. The realization of the administrator to user management, farmers to crop management, raw material manufacturers to crop quality testing, manufacturers to agricultural products processing management, logistics companies to transport management, consumers to crop traceability.
Key words:agricultural products traceability; blockchain; Hyperledger Fabric; smart contract; Spring Boot
目 录
1 绪论
1.1 系统研究背景
1.2 系统开发的目的与意义
1.3 国内外研究现状
2 系统开发平台及使用技术
2.1 系统开发平台
2.2 系统相关技术介绍
2.2.1 Spring Boot
2.2.2 Mybatis
2.2.3 FastDFS
2.2.4 Redis
2.2.5 区块链技术
2.2.6 Hyperledger Fabric
3 需求分析
3.1 系统应用需求
3.2 平台业务流程设计
3.3 可行性分析
3.3.1 技术可行性
3.3.2 经济可行性
3.3.3 操作可行性
4 系统设计
4.1 系统项目架构
4.2 系统功能模块设计
4.3 数据库设计
4.3.1 数据库E-R图
4.3.2 数据库表结构
4.4 Fabric区块链设计
4.4.1 区块链设计
4.4.2 智能合约设计
4.4.3 系统内部溯源流程设计
5 系统实现
5.1 Fabric区块链网络搭建
5.2 用户登录
5.3 系统管理模块实现
5.3.1 用户管理
5.3.2 角色管理
5.3.3 日志管理
5.4 农作物管理模块实现
5.4.1 农作物信息管理
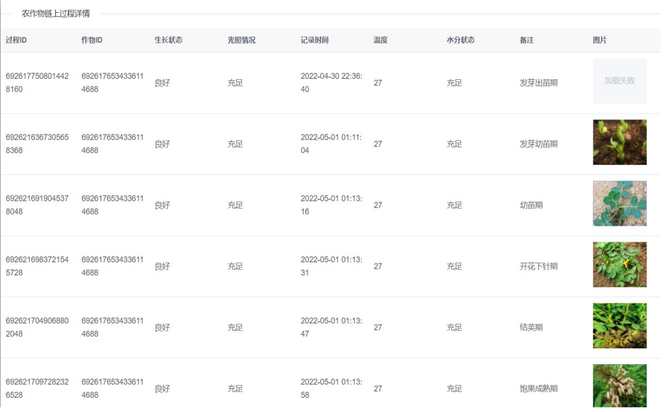
5.4.2 农作物生长记录管理
5.5 农产品加工模块实现
5.6 质量检测模块实现
5.7 运输管理模块实现
5.8 农产品溯源模块实现
6 系统测试
6.1 系统管理模块测试
6.2 农作物管理模块测试
6.3 农产品加工模块测试
6.4 运输管理模块测试
6.5 农产品溯源模块测试
7 总结与展望
参考文献
致谢



































毕业66资料站 biye66.com ©2015-2026 版权所有 | 微信:15573586651 QQ:3903700237
本站毕业设计和毕业论文资料均属原创者所有,仅供学习交流之用,请勿转载并做其他非法用途.如有侵犯您的版权有损您的利益,请联系我们会立即改正或删除有关内容!