| 设计 任务书 文档 开题 答辩 说明书 格式 模板 外文 翻译 范文 资料 作品 文献 课程 实习 指导 调研 下载 网络教育 计算机 网站 网页 小程序 商城 购物 订餐 电影 安卓 Android Html Html5 SSM SSH Python 爬虫 大数据 管理系统 图书 校园网 考试 选题 网络安全 推荐系统 机械 模具 夹具 自动化 数控 车床 汽车 故障 诊断 电机 建模 机械手 去壳机 千斤顶 变速器 减速器 图纸 电气 变电站 电子 Stm32 单片机 物联网 监控 密码锁 Plc 组态 控制 智能 Matlab 土木 建筑 结构 框架 教学楼 住宅楼 造价 施工 办公楼 给水 排水 桥梁 刚构桥 水利 重力坝 水库 采矿 环境 化工 固废 工厂 视觉传达 室内设计 产品设计 电子商务 物流 盈利 案例 分析 评估 报告 营销 报销 会计 | |||||
|
|||||
|
|||||
|
|||||
摘 要
自从进入21 世纪以后,汽车产业迅速发展,伴随着人们生活程度的日益进步的人口的迅速增加,汽车的数量也如雨后春笋般在城市里不断的增加。这种现象,一方面是值得我们高兴的,这代表着我们国家的经济发展非常迅速,但同时它也给城市的泊车带来了极大的挑战。在我国各个城市当中,由于资源使用的不完善,资源配置的不合理,所以始终存在着泊车难、泊车贵的问题。
事实证实,增加停车位共享系统的供应诚然重要,但充分利用车位资源将更加可行。所以将当前固有的车位发挥最大的使用效率是目前实施力最强的解决方案。
本课题就是针对停车位共享系统管理这一需求主体,基于Spring MVC + Spring + MyBatis三个Web应用程序成熟的开源框架作为系统基础框架,Tomcat提供服务支撑,MySQL提供完整的数据存储撑持,设计了一款停车位共享系统。该停车场管理系统的智慧化、信息化和自动化也有所进步,既降低了人工压力,同时也显著减少人工登记由于个人错误而引发的一系列问题。通过该停车场管理系统,一方面可以省去繁琐的人工登记,也可以节省一笔不小的人员支出,同时也有利于问题出现以后的追踪查询增加安全性。该系统同时拥有灵活性和拓展性。
关键词:停车场管理;车牌识别算法;收费停车场;SSM;
ABSTRACT
Since entering the 21st century, the automobile industry has developed rapidly. With the rapid increase of people's living standard, the number of automobiles has been increasing in the city. This phenomenon, on the one hand, is worthy of our happiness, which represents the rapid economic development of our country, but at the same time, it also brings great challenges to the city parking. In every city of our country, because of the unreasonable use of resources and the imperfect distribution of resources, there are always the problems of difficult and expensive parking.
It has been proved that it is important to increase the supply of parking spaces, but it is more feasible to make full use of parking space resources. Therefore, it is the most powerful solution to maximize the efficiency of the existing parking space.
This topic is aimed at the demand subject of parking space management. Based on the mature open-source framework of three web applications spring MVC + Spring + mybatis, Tomcat provides the service support, MySQL provides the data storage support of the system, and designs an intelligent parking lot management system. The parking lot management system improves the intelligence, automation and informatization of the parking lot, reduces the artificial pressure, and also significantly reduces a series of problems caused by personal errors in the manual registration. Through the parking lot management system, on the one hand, it can save the tedious manual registration, and also can save a large amount of personnel expenditure, and it is also conducive to increase the security of tracking query after problems occur. The system has flexibility and expansibility at the same time.
Key Words: Parking lot management; License plate recognition algorithm; Pay Parking; SSM;
目 录
第1章 引言
1.1 研究背景
1.2 课题研究目的及意义
1.3 国内外发展状况
1.3.1 国外研究现状
1.3.2 国内研究现状
1.4 本文章节结构
第2章 相关技术
2.1 开发工具及开发环境
2.2 Bootstrap
2.3 JavaScript
2.4 Ajax
2.5 Redis
2.6 车牌识别技术
2.7 本章小结
第3章 需求分析
3.1 可行性分析
3.1.1 技术可行性
3.1.2 经济可行性
3.1.3 管理可行性
3.2 系统功能需求分析
3.2.1 系统用例图
3.2.2 功能模块需求分析
3.2.3 系统业务
3.3 性能需求分析
3.4 本章小结
第4章 系统设计
4.1 系统框架设计
4.2 系统功能结构
4.3 主要功能设计
4.3.1 车辆进入停车场
4.3.2 车辆驶出停车场
4.3.3 历史停车查询
4.3.4 违规管理
4.3.5 优惠券管理
4.4 数据库设计
4.4.1 数据库表间关系设计
4.4.2 基本表设计
4.5 本章小结
第5章 系统实现
5.1 系统开发环境
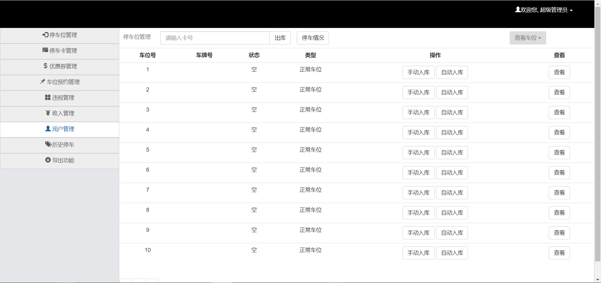
5.2 车辆手动入库和自动入库实现
5.3 添加车辆违规实现
5.4 添加停车卡实现
5.5 系统界面展示
5.6 本章小结
第6章 系统测试
6.1 软件测试
6.2 功能测试
6.3 测试用例
6.4 功能测试总结
6.5 本章小结
第7章 总结与展望
7.1 总结
7.2 展望
参考文献
致 谢


























毕业66资料站 biye66.com ©2015-2026 版权所有 | 微信:15573586651 QQ:3903700237
本站毕业设计和毕业论文资料均属原创者所有,仅供学习交流之用,请勿转载并做其他非法用途.如有侵犯您的版权有损您的利益,请联系我们会立即改正或删除有关内容!