| 设计 任务书 文档 开题 答辩 说明书 格式 模板 外文 翻译 范文 资料 作品 文献 课程 实习 指导 调研 下载 网络教育 计算机 网站 网页 小程序 商城 购物 订餐 电影 安卓 Android Html Html5 SSM SSH Python 爬虫 大数据 管理系统 图书 校园网 考试 选题 网络安全 推荐系统 机械 模具 夹具 自动化 数控 车床 汽车 故障 诊断 电机 建模 机械手 去壳机 千斤顶 变速器 减速器 图纸 电气 变电站 电子 Stm32 单片机 物联网 监控 密码锁 Plc 组态 控制 智能 Matlab 土木 建筑 结构 框架 教学楼 住宅楼 造价 施工 办公楼 给水 排水 桥梁 刚构桥 水利 重力坝 水库 采矿 环境 化工 固废 工厂 视觉传达 室内设计 产品设计 电子商务 物流 盈利 案例 分析 评估 报告 营销 报销 会计 | |||||
|
|||||
|
|||||
|
|||||
目录
《软件体系结构与设计》实习报告
一、实验概况
二、实验设计(给出你的实习内容的设计方案,可根据实际情况调整条目)
2.1 系统需求
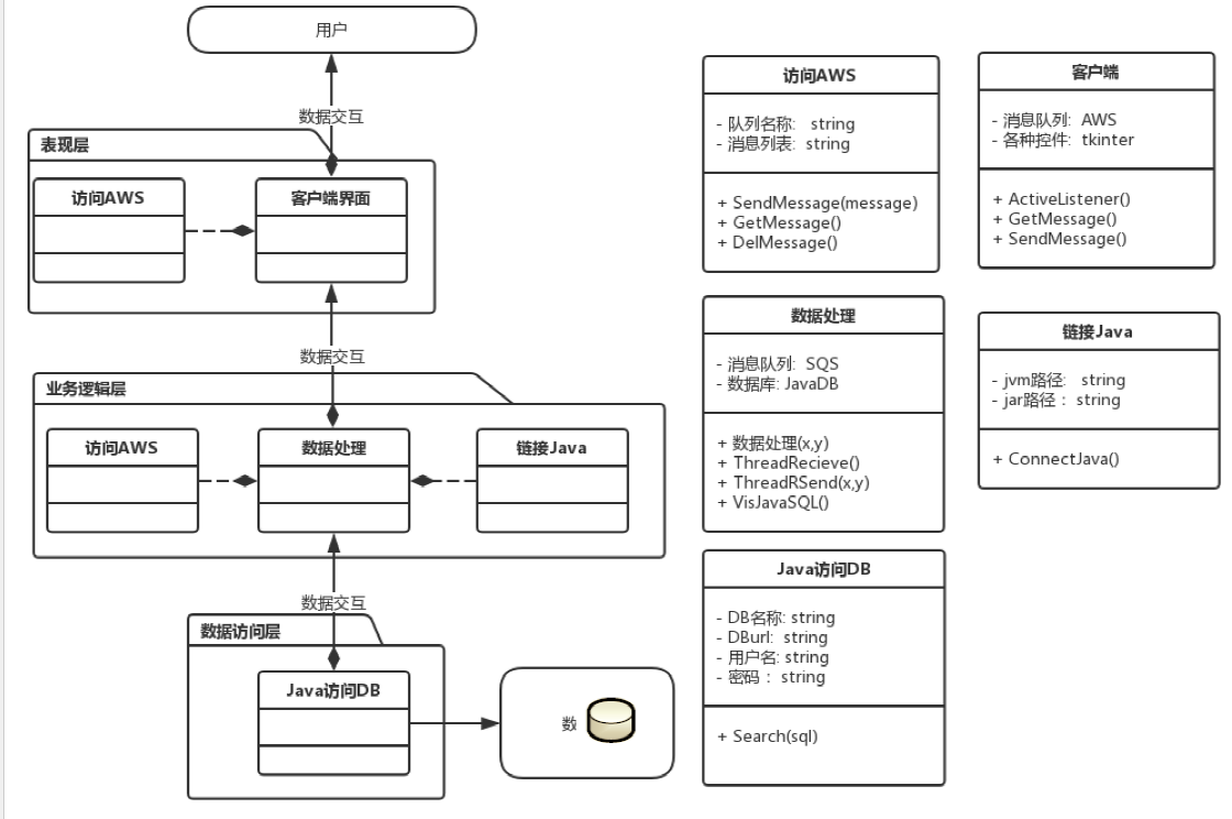
2.2 架构设计
客户端:
数据处理:
链接 Java
Java 访问 DB:
2.3 接口设计
三、实验过程 3.1 软件实现
3.2 实验环境
图 3 链接 SQS 和链接数据库接口功能的验证
图 4 服务层消息发送和逻辑层消息接收
图 5 数据库查询完成
图 6 本地部署三层架构完成
四、实验评价 4.1 实验结果
4.2 结果分析
五、总结
实验目的:掌握设计、开发、测试、发布、调试经典三层架构软件的基本方法、工具和流程, 理解层次体系结构风格基本原理、结构和特点。掌握设计系统时的“高内聚低耦合”的思想。背景及要求:
[综述研究背景:概述本项工作的研究或观察的理论基础,给出简明的理论或研究背景,一定要列举重要的相关文献。若可能指出存在问题:说明为什么要做这项工作;阐述研究目的: 说明有别于他人的“主意”(此红色字体一条不做强行要求)。]
三层架构就是将整个业务应用划分为:表现层、业务逻辑层、数据访问层。区分层次的目的即
为了“高内聚低耦合”的思想,在软件体系架构设计中,分层式结构是最常见,也是最重要的一种结构,三层架构软件系统为用户的数据传输、提取、储存创造了便利条件。在应用数据时,信息划分架构开发项目,对各层次之间的工作职责进行清晰规划,这样就降低了系统的维护风险。
具体任务如下:
结合课堂上讲授的“一个简单的用户信息查询程序三层逻辑架构”原理,参考以下链接中给出的 C#代码,http://www.codeproject.com/Articles/36847/Three-Layer-Architecture-in-C-NET,完成:
1.结合以下示例数据库或自选其他相当规模数据集,使用 Java 设计实现一个三层架构的业务数据分析系统。各逻辑层的功能如下:
表现层:包含输入、查询相关的控件以及数据图表的展示(如百分图,折线图); 业务逻辑层:数据处理、数据分析(不少于三项统计分析功能)、数据查询;
数据访问层:负责数据库的访问,主要职责为打开、关闭数据库、构建 SQL 查询、返回查询结果。
附:SqlServer 示例数据库 Northwind
https://www.cnblogs.com/mahongbiao/p/3764782.html
附:上证 1999-2016 的某公司股票走势数据,构建其业务数据分析系统。
2. 修改程序以适应三个逻辑层的分布式部署,要求三个逻辑分层分别部署于客户机(本机或手机)、AWS EC2 应用服务器和 AWC RDS 数据库服务器上(即多层 C/S 架构),部署完成后能通过公网 IP 访问该系统。
3.使用 RSA 或 Visio 等建模工具构建软件架构模型(UML 图),要求:
(1)画出逻辑分层结构图;
(2)画出每个逻辑层中所包含的核心构件(此处为类);
(3)画出每个逻辑层中构件(类)之间的关系,且要细化到聚合(Aggregation)、组成(Composition)关系并给出重数(如 1:1,1:*);
(4)画出系统部署结构图。












毕业66资料站 biye66.com ©2015-2026 版权所有 | 微信:15573586651 QQ:3903700237
本站毕业设计和毕业论文资料均属原创者所有,仅供学习交流之用,请勿转载并做其他非法用途.如有侵犯您的版权有损您的利益,请联系我们会立即改正或删除有关内容!