设计 任务书 文档 开题 答辩 说明书 格式 模板 外文 翻译 范文 资料 作品 文献 课程 实习 指导 调研 下载 网络教育 计算机 网站 网页 小程序 商城 购物 订餐 电影 安卓 Android Html Html5 SSM SSH Python 爬虫 大数据 管理系统 图书 校园网 考试 选题 网络安全 推荐系统 机械 模具 夹具 自动化 数控 车床 汽车 故障 诊断 电机 建模 机械手 去壳机 千斤顶 变速器 减速器 图纸 电气 变电站 电子 Stm32 单片机 物联网 监控 密码锁 Plc 组态 控制 智能 Matlab 土木 建筑 结构 框架 教学楼 住宅楼 造价 施工 办公楼 给水 排水 桥梁 刚构桥 水利 重力坝 水库 采矿 环境 化工 固废 工厂 视觉传达 室内设计 产品设计 电子商务 物流 盈利 案例 分析 评估 报告 营销 报销 会计
Logo 顶部广告
首页 | 机械毕业设计 | 电子电气毕业设计 | 计算机毕业设计 | 土木工程毕业设计 | 视觉传达毕业设计 | 理工论文 | 文科论文 | 毕设资料 | 帮助中心
今天是: |>>> 您现在的位置:首页>>>>文档详细内容
标题:

基于SpringBoot的智能物流监控系统数据平台设计 毕业论文+中期检查+答辩PPT+方案设计+流程图+项目源码及数据库文件


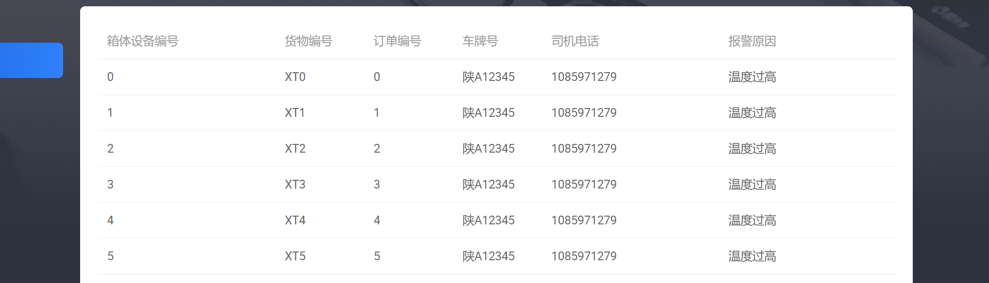
摘  要在万物互联的大背景下,将物流行业纳入物联网生态中是一件非常有必要的事情。本课题希冀为完善物联网生态中的物流行业而贡献自己的力量,其目的是构建一套适合预设物流监控需求的系统,让物流运输相对于所有物流参与者都能成为一个透明的过程。所设计的系统分为数据平台对接、数据服务、用户与订单服务四个部分。其中,数据平台对接完成数据的定时更新,保证数据的实时性;数据服务完成了对于数据平台的一些基础数据读取的服务,系统应用将围绕这些数据展开。用户与订单服务是与用户应用对接的部分,完成前端应用的API提供。智能物流监控系统是一个前后端分离的项目,前端构建web端应用与Android端应用,后端使用springboot构建服务器端应用,开发API端口与前端交互。服务端使用redis技术缓存数据,可以为分布式系统提供session登录服务,使用了spring-data-jpa简化了数据库操作,提供API依照RESTful规范,且使用webSocket协议实现服务端与客户端的双向通信。本课题完成了系统数据库的设计,完成了包括系统数据查看、订单管理、车辆管理等模块的实现,进而实现了用户的应用需求。关键词:物联网;物流监控;OneNET;数据平台;springboot;前后端分离;RESTful;webSocketABSTRACTUnder the background of the Internet of Everything, it is necessary to integrate the logistics industry into the ecosystem of the Internet of Things. This project hopes to contribute to the improvement of the logistics industry in the Internet of Things ecosystem. Its purpose is to construct a system that is suitable for the preset logistics monitoring needs, so that logistics and transportation can become a transparent process for all logistics participants.The designed system is divided into four parts: data platform docking, data service, user and order service. Among them, the data platform docking completes the regular update of data to ensure the real-time nature of the data; the data service completes the service for reading some basic data of the data platform, and the system application will develop around these data. The user and order service is the part that interfaces with the user application and completes the API provision of the front-end application.The intelligent logistics monitoring system is a front-end and back-end separated project. The front-end builds web-side applications and Android-side applications. The back-end uses springboot to build server-side applications and develops API ports to interact with front-ends. The server uses redis technology to cache data. It can provide session login services for distributed systems. It uses spring-data-jpa to simplify database operations, provides APIs in accordance with the RESTful specification, and uses the webSocket protocol to implement two-way communication between the server and the client. This project completed the design of the system database, completed the implementation of the module including system data viewing, order management, vehicle management, and then realized the user's application requirements.Key words:Internet of things; logistics monitoring; springboot; front-end separation; RESTful; webSocket; OneNET; data platform目  录目录图 目 录 Ⅴ表 目 录 Ⅵ第1章 引言 11.1 项目背景 11.2 国内物联网平台的产业生态 21.3 论文的主要工作和组织结构 3第2章 系统支撑平台与技术概述 52.1 OneNET平台介绍 52.1.1 OneNET平台概述 52.1.2 OneNET平台能力与架构 52.1.3 OneNET平台产品案例 62.2 Spring框架 72.3 JPA规范与在Spring中的应用 92.4 RESTful API 102.5 WebSocket协议 12第3章 智能物流监控系统需求分析与概要设计 133.1 智能物流监控系统需求分析 133.1.1 智能物流监控系统需求概述 133.1.2 智能物流监控系统的功能需求 133.1.3 智能物流监控系统的非功能需求 203.2 智能物流监控系统整体方案 203.2.1 系统基础数据平台架构设计 213.2.2 应用于物流的管理系统设计 253.3 智能物流监控系统概要设计 263.3.1整体系统框架结构 263.3.2系统模块设计 273.3.3 数据库设计 36第4章 智能物流监控系统的详细设计 394.1 平台数据更新模块 394.2 基础数据访问模块 394.3 用户账号与权限控制模块 404.4 订单管理模块 414.5 车辆管理模块 414.6 告警模块 42第5章 智能物流监控系统的实现 445.1 平台数据更新模块 455.2 基础数据访问模块 475.3 用户账号与权限控制模块 485.4 订单管理模块 515.5 车辆管理模块 545.6 告警模块 55第6章 总结与展望 586.1 总结 586.2 展望 58参考文献 60致谢 61























| 关于我们 | 友情链接 | 毕业设计招聘 |

毕业66资料站 biye66.com ©2015-2026 版权所有 | 微信:15573586651 QQ:3903700237

本站毕业设计和毕业论文资料均属原创者所有,仅供学习交流之用,请勿转载并做其他非法用途.如有侵犯您的版权有损您的利益,请联系我们会立即改正或删除有关内容!