设计 任务书 文档 开题 答辩 说明书 格式 模板 外文 翻译 范文 资料 作品 文献 课程 实习 指导 调研 下载 网络教育 计算机 网站 网页 小程序 商城 购物 订餐 电影 安卓 Android Html Html5 SSM SSH Python 爬虫 大数据 管理系统 图书 校园网 考试 选题 网络安全 推荐系统 机械 模具 夹具 自动化 数控 车床 汽车 故障 诊断 电机 建模 机械手 去壳机 千斤顶 变速器 减速器 图纸 电气 变电站 电子 Stm32 单片机 物联网 监控 密码锁 Plc 组态 控制 智能 Matlab 土木 建筑 结构 框架 教学楼 住宅楼 造价 施工 办公楼 给水 排水 桥梁 刚构桥 水利 重力坝 水库 采矿 环境 化工 固废 工厂 视觉传达 室内设计 产品设计 电子商务 物流 盈利 案例 分析 评估 报告 营销 报销 会计
Logo 顶部广告
首页 | 机械毕业设计 | 电子电气毕业设计 | 计算机毕业设计 | 土木工程毕业设计 | 视觉传达毕业设计 | 理工论文 | 文科论文 | 毕设资料 | 帮助中心
今天是: |>>> 您现在的位置:首页>>>>文档详细内容
标题:

基于SSM+Web的玩具租赁管理系统设计与实现 毕业论文+选题表+开题报告+开题答辩PPT+项目源码


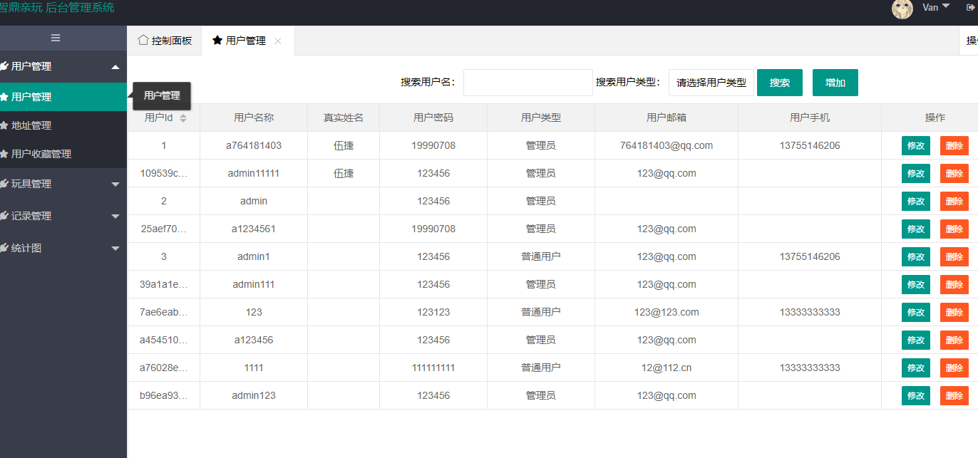
目录概述 1系统概述 1设计意义 11 需求分析 21.1 功能性需求 21.1.1 系统功能模块 21.1.2 系统实现目标 22 系统功能模块图 32.1 登录流程图 32.2 主页显示流程图 42.3 添加、修改或删除数据流程图 53 数据库设计 53.1 数据分析 54 系统设计 64.1 系统详细设计概述 64.2 系统各模块的实现 64.2.1 登录注册模块 64.2.2 首页 84.2.3 玩家个人中心 84.2.4 会员的租赁功能 94.2.5 浏览查询玩具功能 114.2.6 商家个人中心 114.2.7 后台管理 125 界面设计 135.1 登录界面 135.2 主界面 145.3 租赁车页面 156 结束语 15致谢 16参考文献 16基于Java Web的玩具租赁系统摘要 系统采用B/S结构,使用常用浏览器,如IE,火狐,谷歌浏览器访问系统,系统后台采用MVC结构,具有层次清晰,便于维护,安全可靠等特点,后台框架采用springMVC+spring+myBatis。数据库运用了mysql,这个玩具租赁系统,运用jquery、以及html5+css3前端技术,使系统界面美观,操作简单。后台管理员可以发布玩具以及管理会员等功能,前台用户可以浏览和租赁玩具等功能。关键词 javaWeb;Html;Spring;mybatisToy Leasing System Based on Java WebAbstract  The system adopts a B/S structure, uses a common browser, such as IE, Firefox, Google Browser access system, the system background adopts an MVC structure, has a clear hierarchy, easy to maintain, safe and reliable features, and the background framework adopts a spalling MVC + spalling + myBatis. The database uses MySQL, a toy rental system that uses jQuery and HTML 5 + CSS3 front-end technology to make the system interface beautiful and simple to operate. Backstage administrators can publish toys and manage members and other functions. Front desk users can browse and lease toys and other functions.Keywords  javaWeb;java;Html;Spring;mybatis

























| 关于我们 | 友情链接 | 毕业设计招聘 |

毕业66资料站 biye66.com ©2015-2026 版权所有 | 微信:15573586651 QQ:3903700237

本站毕业设计和毕业论文资料均属原创者所有,仅供学习交流之用,请勿转载并做其他非法用途.如有侵犯您的版权有损您的利益,请联系我们会立即改正或删除有关内容!