设计 任务书 文档 开题 答辩 说明书 格式 模板 外文 翻译 范文 资料 作品 文献 课程 实习 指导 调研 下载 网络教育 计算机 网站 网页 小程序 商城 购物 订餐 电影 安卓 Android Html Html5 SSM SSH Python 爬虫 大数据 管理系统 图书 校园网 考试 选题 网络安全 推荐系统 机械 模具 夹具 自动化 数控 车床 汽车 故障 诊断 电机 建模 机械手 去壳机 千斤顶 变速器 减速器 图纸 电气 变电站 电子 Stm32 单片机 物联网 监控 密码锁 Plc 组态 控制 智能 Matlab 土木 建筑 结构 框架 教学楼 住宅楼 造价 施工 办公楼 给水 排水 桥梁 刚构桥 水利 重力坝 水库 采矿 环境 化工 固废 工厂 视觉传达 室内设计 产品设计 电子商务 物流 盈利 案例 分析 评估 报告 营销 报销 会计
Logo 顶部广告
首页 | 机械毕业设计 | 电子电气毕业设计 | 计算机毕业设计 | 土木工程毕业设计 | 视觉传达毕业设计 | 理工论文 | 文科论文 | 毕设资料 | 帮助中心
今天是: |>>> 您现在的位置:首页>>>>文档详细内容
标题:

基于Spring+SpringBoot+MyBatis+Thymeleaf的网上购物商城系统 毕业论文+项目源码


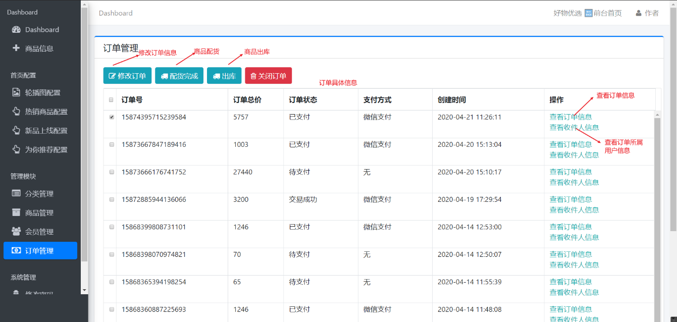
摘 要如今的时代可以被称为“互联网时代”,在互联网+这种社会新形态的背景下各种线上商品经济蓬勃发展。在线购物成为人们购物方式的主流。而如何构建一个高并发、高可用、分布式的在线购物系统成为此次设计开发的初衷。本购物平台融合Spring系列框架、MyBatis、MySQL和Maven项目构建工具等在JDK12的基础上构建而成。按照B2C网站构建原则,该在线购物平台主要分为两个部分,用户操作部分和后台管理部分。在前台用户的操作主要是,用户注册或登录、商品浏览、搜索商品、购物车的添加和查看、订单的结算和支付、网站本身信息的展示等等;在后台管理员管理的操作主要是,商品信息管理、轮播图配置、热销商品配置、分类管理、商品管理、会员管理、订单管理、系统管理、系统监控界面显示等等。本系统通过人性化的界面布局将给网站消费者良好的购物体验,用户可以根据需求搜索相关产品,用户可以利用商品比较功能择优购买,用户可以在商品购买之后加入该商品的讨论论坛分享购买体验等等。通过各种系统优化手段使本系统对于用户而言更友好对于后续开发更易于扩展。关键词:电子商务;购物系统;Spring Boot;MySQLAbstractToday ’s era can be called the “Internet era.” In the context of the Internet + this new social form, various online commodity economies are booming. Online shopping has become the mainstream of people's shopping methods. How to build a highly concurrent, highly available, distributed online shopping system has become the original intention of this design and development.This shopping platform is built on the basis of JDK12 by integrating Spring series frameworks, MyBatis, MySQL and Maven project building tools. According to the principles of B2C website construction, the online shopping platform is mainly divided into two parts, user operation part and background management part. The operations of users at the front desk are mainly user registration or login, product browsing, searching for products, adding and viewing of shopping carts, settlement and payment of orders, display of information on the website itself, etc. The operations managed by the administrator in the background are mainly, Commodity information management, carousel map configuration, hot commodity configuration, classification management, commodity management, member management, order management, system management, system monitoring interface display, etc. This system will give website consumers a good shopping experience through a user-friendly interface layout. Users can search for related products according to their needs. Users can use the product comparison function to choose the best purchase. Users can join the product discussion forum to share the purchase experience after the product is purchased and many more. Through various system optimization methods, the system is more friendly to users and easier to expand for subsequent development.Key Words:E-commerce;Shopping System;Spring Boot;MySQL目   录1 绪论 71.1 研究背景 71.2 主要任务 71.3 开发环境 81.3.1 IntelliJ IDEA Ultimate 81.3.2 MySQL 81.4 主要技术 81.4.1 Java 81.4.2 Spring框架 81.4.3 SpringBoot框架 81.4.4 MyBatis框架 81.4.5 Thymeleaf框架 92可行性分析 102.1 社会可行性 102.2 技术可行性 102.3 经济可行性 103需求分析 113.1 功能需求分析 113.1.1 系统功能描述 113.1.2 系统用例图 123.2 非功能性需求 144 概要设计 154.1 模块设计 154.2 数据库设计 164.2.1 系统实体描述 164.2.2 数据表设计 194.3 系统架构分层 265 详细设计 275.1 前台详细设计 275.1.1 用户注册 275.1.2 用户登录 285.1.3 商品搜索 305.1.4 购物车 315.1.5订单 315.1.6支付功能 325.1.7 个人信息管理 345.2后台详细设计 355.2.1 后台管理系统主页面销售情况以及商品统计图 355.2.2 轮播图管理 365.2.3 热销商品管理 375.2.4 商品分类管理 385.2.5 商品管理 395.2.6 会员管理 405.2.7 订单管理 405.2.8 系统管理 415.2.9 管理员登录 426 系统测试与运行 446.1 系统测试 446.1.1 用户登录表单信息反馈功能测试 446.1.2 用户注册功能测试 456.1.3 添加购物车功能测试 456.1.4 订单功能 466.1.5 商品搜索功能 466.1.6 会员管理禁用用户功能 476.1.6 添加商品功能 477 总结与展望 487.1 总结 487.2 展望 48致    谢 49参考文献 50

































| 关于我们 | 友情链接 | 毕业设计招聘 |

毕业66资料站 biye66.com ©2015-2026 版权所有 | 微信:15573586651 QQ:3903700237

本站毕业设计和毕业论文资料均属原创者所有,仅供学习交流之用,请勿转载并做其他非法用途.如有侵犯您的版权有损您的利益,请联系我们会立即改正或删除有关内容!