| 设计 任务书 文档 开题 答辩 说明书 格式 模板 外文 翻译 范文 资料 作品 文献 课程 实习 指导 调研 下载 网络教育 计算机 网站 网页 小程序 商城 购物 订餐 电影 安卓 Android Html Html5 SSM SSH Python 爬虫 大数据 管理系统 图书 校园网 考试 选题 网络安全 推荐系统 机械 模具 夹具 自动化 数控 车床 汽车 故障 诊断 电机 建模 机械手 去壳机 千斤顶 变速器 减速器 图纸 电气 变电站 电子 Stm32 单片机 物联网 监控 密码锁 Plc 组态 控制 智能 Matlab 土木 建筑 结构 框架 教学楼 住宅楼 造价 施工 办公楼 给水 排水 桥梁 刚构桥 水利 重力坝 水库 采矿 环境 化工 固废 工厂 视觉传达 室内设计 产品设计 电子商务 物流 盈利 案例 分析 评估 报告 营销 报销 会计 | |||||
|
|||||
|
|||||
|
|||||
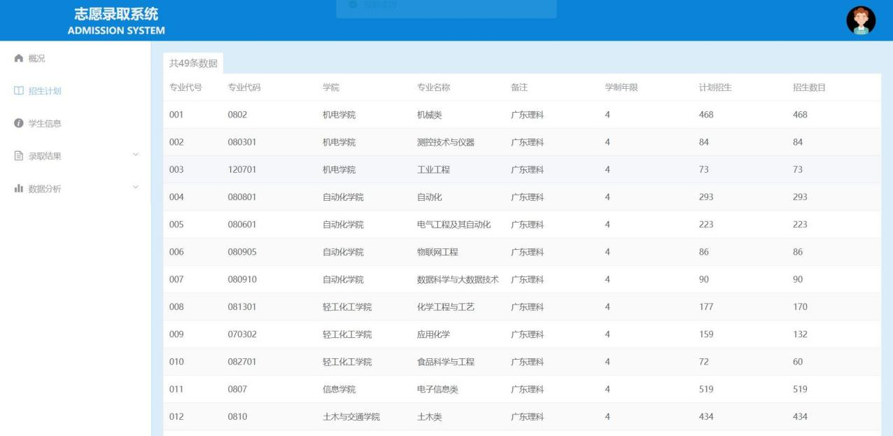
目录“平行志愿录取系统”软件系统的需求构思及描述 21. 背景介绍 22. 欲解决问题 33. 软件创意 34. 系统的组成和部署 35. 软件系统的功能描述 4表 1 软件系统功能描述表 46. 可行性及潜在风险 5软件需求规格说明书 61. 引言 61.1 编写目的 61.2 读者对象 61.3 软件项目概述 61.4 文档概述 61.5 参考资料 72. 软件的一般性描述 82.1 软件产品与其环境之间的关系 82.2 限制与约束 82.3 假设与前提条件 83. 软件功能需求描述 83.1 软件功能概述 83.2 软件需求的用例模型 103.3 软件需求的分析模型 114. 其它软件需求描述 114.1 性能要求 114.2 设计约束 114.3 界面要求 104.4 进度要求 104.5 交付要求 104.6 验收要求 105. 软件原型 11详细设计 141、引言 141.1 编写目的 141.2 读者对象 141.3 软件项目概述 141.4 文档概述 151.5 参考资料 152、软件设计约束 152.1 软件设计目标和原则 152.2 软件设计的约束和限制 163、软件设计 163.1 软件体系结构设计 163.2 用户界面设计 173.3 用例设计 113.4 类设计 143.5 数据设计 293.6 部署设计 31“平行志愿系统”项目总结报告 311. 项目背景与需求 321.1 项目背景 321.2 项目需求 332. 项目主要代码展示 332.1 代码组织结构 333. 项目部署与运行 353.1 系统登录界面 353.2 系统主界面 363.3 系统招生界面 373.4 学生信息界面 383.5 录取结果界面 393.6 调剂队列界面 403.7 录取结果界面 413.8 成绩分析界面 423.9 人数分布界面 433.10 生源地分布界面 454. 所遇问题与解决方案 465. 项目中完成要求的相关代码截图 48将错误信息写入 log4j 日志文件中; 48错误页面处理 49二级访问的虚拟路径 49解决中文乱码 50设置默认首页 50后台数据校验 51事务管理 52视图解析器 526. 感受与体会 536.1 小组成员xxx感受与体会 536.2 小组成员xxx感受与体会 546.3 小组成员xxx感受与体会 54“平行志愿录取系统”软件系统的需求构思及描述1.背景介绍随着高考参考人数的增多,普通高校网上录取工作的不断推进和深入,高考改革工作的不断进行,对于各院校的高考录取系统要求也进一步细化,特别是投档、录取工作。在考生进行投档时,系统除了需要保证程序的运行效率,还要在正式录取之前实现预录取、预调剂功能,从而降低录取错误发生的概率;除此之外,系统也应能对录取结果进行相应的分析, 例如成绩分析、录取人数分析、成绩区间分布、生源地分布等等,因此客户端则需要根据不同的需求采用不同的算法来满足系统的需要。在这样的大环境背景下,平行志愿录取系统的总体设计目的就是提高录取工作效率,降低考试院和院校的管理成本;避免因人为错误造成录取的巨大损失,保证考生信息的准确性、 可靠性,以及确保高考录取工作在公平公正公开的原则下进行。设计与实现平行志愿录取系统非常具有实用价值。
















毕业66资料站 biye66.com ©2015-2026 版权所有 | 微信:15573586651 QQ:3903700237
本站毕业设计和毕业论文资料均属原创者所有,仅供学习交流之用,请勿转载并做其他非法用途.如有侵犯您的版权有损您的利益,请联系我们会立即改正或删除有关内容!