| 设计 任务书 文档 开题 答辩 说明书 格式 模板 外文 翻译 范文 资料 作品 文献 课程 实习 指导 调研 下载 网络教育 计算机 网站 网页 小程序 商城 购物 订餐 电影 安卓 Android Html Html5 SSM SSH Python 爬虫 大数据 管理系统 图书 校园网 考试 选题 网络安全 推荐系统 机械 模具 夹具 自动化 数控 车床 汽车 故障 诊断 电机 建模 机械手 去壳机 千斤顶 变速器 减速器 图纸 电气 变电站 电子 Stm32 单片机 物联网 监控 密码锁 Plc 组态 控制 智能 Matlab 土木 建筑 结构 框架 教学楼 住宅楼 造价 施工 办公楼 给水 排水 桥梁 刚构桥 水利 重力坝 水库 采矿 环境 化工 固废 工厂 视觉传达 室内设计 产品设计 电子商务 物流 盈利 案例 分析 评估 报告 营销 报销 会计 | |||||
|
|||||
|
|||||
|
|||||
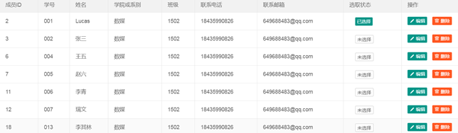
毕业论文选题系统的开发与设计摘 要:伴随着我国高校招生发展趋势的不断扩大,各大高校教学方式的难题和工作量不断增加。传统的管理方式需要耗费大量的资源去处理。所以高校学生论文选题时容易导致出错,出现效率低,质量低,学生对已选择的题目难以进行更改等问题。其次,管理员无法实时有效的对学生、题目、和已选择的题目进行修改编辑;难以实时获取到一个统一的学生论文选择的情况。综上,学院需要拥有一个基于 WEB 的毕业论文选题系统去提高工作效率,减轻工作 负荷的,提高学生选题灵活性。此系统由教师管理员和学生两部分构成,主要包括:选题题目、管理学生的课题、学生查询课题、学生选择课题等模块。设计该系统需要用到Eclipse以及存储数据的MySQL。论文主要介绍了系统的相关技术,对其技术分析,并给出了系统的概要设计、数据库设计和详细的设计,实现完成的系统在运行中没有问题。关键词:学生选课 MVC MySQL近十年以来,在科学技术不断进步,网络信息技术的繁荣,尤其是互联网的普遍应用,在根本上解决的信息传输的难题。构建了一个组织良好的信息结构框架,使用户能够访问媒体文档的信息。在任何网络终端以简单统一的方式进行TS。跟紧Internet的脚步,我国各个高校也开始运用,为了加快现代信息化的进程,各个高校基本都在校园建立了自己的校园网络。为我们现代化的网络教育提供了必备的物质基础。在当下信息爆炸式发展的时代,选择毕业生的原始方法,即手工原始提交的方法,由之凸显出很多缺点和不足,如时间消耗大、工作效率低,而计算机科学与技术系却可以通过Internet来实现网上选题的功能。该网上选题系统,与传统纯手工相比,具有很大的优点。比如:检索迅速,查询快捷,时间消耗量减少,存储更多等优点。所以,这个系统将计划在网页上对学生的选题进行操作。具体的思路是设计与开发毕业了论文选题系统,并且在网页上注册自己的学号以及相关信息,以自己的学号为信息进行选题,帮助应届生更好更快的完成论文的选题工作。本文主要从系统分析,系统设计,系统实现和测试几个方面对该系统进行阐述。系统分析包括可行性分析和需求分析。系统设计从总体和详细对系统进行主要分析。在第三章中实现了对该设计的功能实现,实现各个模块的主要功能之后,对系统进行了非常严谨的测试。目录毕业论文选题系统的开发与设计 1第1章 概 述 31.1 课题研究背景与意义 31.2 国内外研究现状 41.3 开发工具与技术介绍 41.3.1 spring boot框架介绍 41.3.2 MySQL简介 41.3.3 jdk1.8运行环境 41.3.4 系统支撑环境 41.4 课题主要研究内容 5第2章 系统分析 52.1 系统可行性分析 52.1.1 技术可行性 52.1.2 经济可行性 62.1.3 操作可行性 62.2 系统需求分析 62.2.1 系统功能性需求 62.2.2 数据库需求分析 6第3章 系统设计 73.1 数据库设计 73.1.1 数据库表关系图 73.1.2 系统操作流程图 83.2 系统详细设计 103.2.1 界面设计 103.2.2 模块设计 123.2.3 数据库设计 13第4章 系统实现 174.1 登录注册管理界面 174.2 功能模块界面 19第5章 系统测试 225.1 测试目的和要求 235.2 测试方法 235.3 测试结果 23结 论 23



















毕业66资料站 biye66.com ©2015-2026 版权所有 | 微信:15573586651 QQ:3903700237
本站毕业设计和毕业论文资料均属原创者所有,仅供学习交流之用,请勿转载并做其他非法用途.如有侵犯您的版权有损您的利益,请联系我们会立即改正或删除有关内容!