| 设计 任务书 文档 开题 答辩 说明书 格式 模板 外文 翻译 范文 资料 作品 文献 课程 实习 指导 调研 下载 网络教育 计算机 网站 网页 小程序 商城 购物 订餐 电影 安卓 Android Html Html5 SSM SSH Python 爬虫 大数据 管理系统 图书 校园网 考试 选题 网络安全 推荐系统 机械 模具 夹具 自动化 数控 车床 汽车 故障 诊断 电机 建模 机械手 去壳机 千斤顶 变速器 减速器 图纸 电气 变电站 电子 Stm32 单片机 物联网 监控 密码锁 Plc 组态 控制 智能 Matlab 土木 建筑 结构 框架 教学楼 住宅楼 造价 施工 办公楼 给水 排水 桥梁 刚构桥 水利 重力坝 水库 采矿 环境 化工 固废 工厂 视觉传达 室内设计 产品设计 电子商务 物流 盈利 案例 分析 评估 报告 营销 报销 会计 | |||||
|
|||||
|
|||||
|
|||||
随着社会的发展,社会的方方面面都在利用信息化时代的优势。互联网的优势和普及使得各种系统的开发成为必需。
本文以实际运用为开发背景,运用软件工程原理和开发方法,它主要是采用java语言技术和mysql数据库来完成对系统的设计。整个开发过程首先对微信点餐小程序进行需求分析,得出微信点餐小程序主要功能。接着对微信点餐小程序进行总体设计和详细设计。总体设计主要包括小程序功能设计、小程序总体结构设计、小程序数据结构设计和小程序安全设计等;详细设计主要包括微信点餐小程序数据库访问的实现,主要功能模块的具体实现,模块实现关键代码等。最后对微信点餐小程序进行了功能测试,并对测试结果进行了分析总结,得出微信点餐小程序存在的不足及需要改进的地方,为以后的微信点餐小程序维护提供了方便,同时也为今后开发类似微信点餐小程序提供了借鉴和帮助。
微信点餐小程序开发使系统能够更加方便快捷,同时也促使微信点餐小程序变的更加系统化、有序化。系统界面较友好,易于操作。
关键词:微信点餐小程序;java语言 Mysql 数据库 SSM框架
With the development of society, all aspects of society are making use of the advantages of the information age. The advantages and popularity of the Internet make the development of various systems necessary.
In this paper, the actual use of the development background, the use of software engineering principles and development methods, it is mainly using java language technology and MySQL database to complete the design of the system. In the whole development process, firstly, the demand analysis of wechat ordering applet is carried out, and the main functions of wechat ordering applet are obtained. Then the overall design and detailed design of wechat ordering small program are carried out. The overall design mainly includes the function design, the overall structure design, the data structure design and the security design of the small program; the detailed design mainly includes the implementation of the database access of the wechat ordering small program, the specific implementation of the main function modules, and the key code of the module implementation. Finally, the function test of wechat ordering app is carried out, and the test results are analyzed and summarized. The shortcomings of wechat ordering app and the places that need to be improved are obtained, which provides convenience for the maintenance of wechat ordering app in the future, and also provides reference and help for the development of similar wechat ordering app in the future.
The development of wechat ordering applet makes the system more convenient and efficient, and also makes wechat ordering applet more systematic and orderly. The system interface is friendly and easy to operate.
Key words: wechat ordering applet; Java language, MySQL database, SSM framework
目 录
摘 要
Abstract 1
1 系统概述 2
1.1 概述 3
1.2课题意义 4
1.3 主要内容
2 系统开发环境
2.1微信开发者工具
2.2小程序框架以及目录结构介绍
2.3 JAVA简介
2.4 MySQL数据库
2.5 SSM三大框架
3 需求分析 8
3.1 系统设计目标 8
3.2需求分析概述 9
3.3 系统可行性分析 9
3.4经济可行性 10
3.5操作可行性: 11
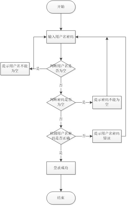
3.6系统流程和逻辑 12
4系统概要设计 13
4.1 概述 14
4.2 系统结构 15
4.3. 数据库设计 16
4.3.1 数据库实体 17
4.3.2 数据库设计表 18
5系统详细设计 18
5.1用户端功能模块 19
5.2管理端功能模块 20
6 系统测试
6.1 测试理论
6.2 测试方法及用例
6.3测试结果
结论
致 谢
参考文献










毕业66资料站 biye66.com ©2015-2026 版权所有 | 微信:15573586651 QQ:3903700237
本站毕业设计和毕业论文资料均属原创者所有,仅供学习交流之用,请勿转载并做其他非法用途.如有侵犯您的版权有损您的利益,请联系我们会立即改正或删除有关内容!